Product Summary
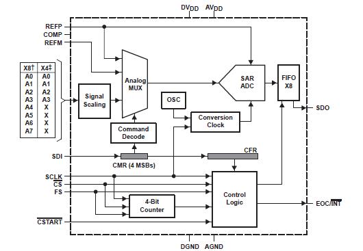
The TLC3574IDW is a high-performance, low-power, CMOS analog-to-digital converter (ADC). The TLC3574IDW is a 14-bit ADC. All parts operate from single 5-V analog power supply and 3-V to 5-V digital supply. The serial interface consists of four digital input [chip select (CS), frame sync (FS), serial input-output clock (SCLK), serial data input (SDI)], and a 3-state serial data output (SDO). CS (works as SS, slave select), SDI, SDO and SCLK form an SPI interface. FS, SDI, SDO, and SCLK form DSP interface. The frame sync signal (FS) indicates the start of a serial data frame being transferred.
Parametrics
TLC3574IDW absolute maximum ratings: (1)Supply voltage, GND to AVDD and DVDD: -0.3 V to 6.5 V; (2)Analog input voltage range: -17 V to 17 V; (3)Analog input current: 100 mA MAX; (4)Reference input voltage: AVDD + 0.3 V; (5)Digital input voltage range: -0.3 V to DVDD + 0.3 V; (6)Operating virtual junction temperature range, TJ: -40℃ to 150℃; (7)Operating free-air temperature range, TA: -40℃ to 85℃; (8)Storage temperature range, Tstg: -65℃ to 150℃; (9)Lead temperature 1,6 mm (1.16 inch) from case for 10 seconds: 260℃.
Features
TLC3574IDW features: (1)14-Bit Resolution for TLC3574/78, 12-Bit for TLC2574/2578; (2)Maximum Throughput 200-KSPS; (3)Multiple Analog Inputs: 8 Single-Ended Channels for; (4)TLC3578/2578; 4 Single-Ended Channels for TLC3574/2574; (5)Analog Input Range: ±10 V; (6)Pseudodifferential Analog Inputs; (7)SPI/DSP-Compatible Serial Interfaces With SCLK up to 25-MHz; (8)Built-In Conversion Clock and 8x FIFO; (9)Single 5-V Analog Supply; 3-/5-V Digital Supply; (10)Low-Power, 5.8 mA in Normal Operation; 20 μA in Power Down; (11)Programmable Autochannel Sweep and Repeat; (12)Hardware-Controlled, Programmable Sampling Period; (13)Hardware Default Configuration; (14)INL: TLC3574/78: ±1 LSB; TLC2574/78: ±0.5 LSB; (15)DNL: TLC3574/78: ±0.5 LSB; TLC2574/78: ±0.5 LSB; (16)SINAD: TLC3574/78: 79 dB; TLC2574/78: 72 dB; (17)THD: TLC3574/78: -82 dB; TLC2574/78: -82 dB.
Diagrams

| Image | Part No | Mfg | Description | ![]() |
Pricing (USD) |
Quantity | ||||||||||||
|---|---|---|---|---|---|---|---|---|---|---|---|---|---|---|---|---|---|---|
![]() |
![]() TLC3574IDW |
![]() Texas Instruments |
![]() ADC (A/D Converters) Serial Out Low Power |
![]() Data Sheet |
![]()
|
|
||||||||||||
![]() |
![]() TLC3574IDWG4 |
![]() Texas Instruments |
![]() ADC (A/D Converters) Serial Out Low Power |
![]() Data Sheet |
![]()
|
|
||||||||||||
![]() |
![]() TLC3574IDWR |
![]() Texas Instruments |
![]() ADC (A/D Converters) Serial Out Low Power |
![]() Data Sheet |
![]()
|
|
||||||||||||
![]() |
![]() TLC3574IDWRG4 |
![]() Texas Instruments |
![]() ADC (A/D Converters) Serial Out Low Power |
![]() Data Sheet |
![]()
|
|
||||||||||||
(China (Mainland))









