Product Summary
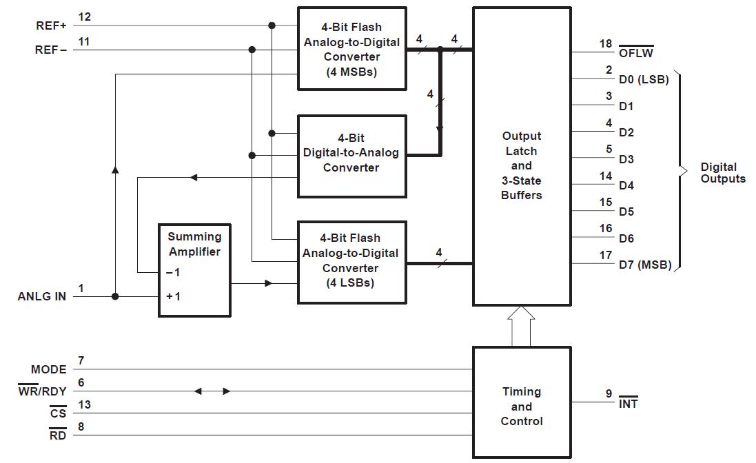
The TLC0820ACDBR is an Advanced LinCMOSE 8-bit analog-to-digital converters each consisting of two 4-bit flash converters, a 4-bit digital-to-analog converter, a summing (error) amplifier, control logic, and a result latch circuit. The modified flash technique allows low-power integrated circuitry to complete an 8-bit conversion in 1.18 ms over temperature. The on-chip track-and-hold circuit has a 100-ns sample window and allows the TLC0820ACDBR to convert continuous analog signals having slew rates of up to 100 mV/ms without external sampling components.
Parametrics
TLC0820ACDBR absolute maximum ratings: (1)Supply voltage, VCC (see Note 1): 10 V; (2)Input voltage range, all inputs (see Note 1): -0.2 V to VCC+0.2 V; (3)Output voltage range, all outputs (see Note 1): -0.2 V to VCC+0.2 V; (4)Operating free-air temperature range: TLC0820AC: 0℃ to 70℃; (5)Storage temperature range: -65℃ to 150℃; (6)Case temperature for 10 seconds: FN package: 260℃; (7)Lead temperature 1,6 mm (1/16 inch) from case for 10 seconds: DB, DW or N package: 260℃.
Features
TLC0820ACDBR features: (1)Advanced LinCMOSE Silicon-Gate Technology; (2)8-Bit Resolution; (3)Differential Reference Inputs; (4)Parallel Microprocessor Interface; (5)Conversion and Access Time Over Temperature Range Read Mode: 2.5 ms Max; (6)No External Clock or Oscillator Components Required; (7)On-Chip Track and Hold; (8)Single 5-V Supply; (9)TLC0820A Is Direct Replacement for National Semiconductor ADC0820C/CC and Analog Devices AD7820K/B/T.
Diagrams

| Image | Part No | Mfg | Description | ![]() |
Pricing (USD) |
Quantity | ||||||||
|---|---|---|---|---|---|---|---|---|---|---|---|---|---|---|
![]() |
![]() TLC0820ACDBR |
![]() Texas Instruments |
![]() ADC (A/D Converters) 8-Bit 392 kSPS Parallel Out |
![]() Data Sheet |
![]()
|
|
||||||||
![]() |
![]() TLC0820ACDBRG4 |
![]() Texas Instruments |
![]() ADC (A/D Converters) 8-Bit 392 kSPS Parallel Out |
![]() Data Sheet |
![]()
|
|
||||||||
(China (Mainland))









