Product Summary
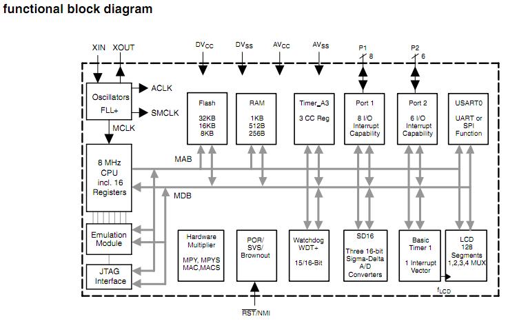
The MSP430F4250IDLR is an ultralow power microcontroller. It consists of several devices featuring different sets of peripherals targeted for various applications. The architecture, combined with five low power modes, is optimized to achieve extended battery life in portable measurement applications. The MSP430F4250IDLR features a powerful 16-bit RISC CPU, 16-bit registers, and constant generators that contribute to maximum code efficiency. The digitally controlled oscillator (DCO) allows wake-up from low-power modes to active mode in less than 6 μs. Typical applications of the MSP430F4250IDLR include high resolution applications such as handheld metering equipment, weigh scales, and energy meters.
Parametrics
MSP430F4250IDLR absolute maximum ratings: (1)Voltage applied at VCC to VSS: -0.3 V to + 4.1 V; (2)Voltage applied to any pin: -0.3 V to VCC + 0.3 V; (3)Diode current at any device terminal: ±2 mA; (4)Storage temperature (unprogrammed device): -55 to 150℃; (5)Storage temperature (programmed device): -40 to 85℃.
Features
MSP430F4250IDLR features: (1)Five Power-Saving Modes; (2)Wake-Up From Standby Mode in Less Than 6 μs; (3)Frequency-Locked Loop, FLL+; (4)16-Bit RISC Architecture, 125-ns Instruction Cycle Time; (5)Three Independent 16-bit Sigma-Delta A/D Converters With Differential PGA Inputs; (6)16-Bit Timer_A With Three Capture/Compare Registers; (7) Integrated LCD Driver for 128 Segments; (8)Serial Communication Interface (USART), Asynchronous UART or Synchronous SPI Selectable by Software; (9)Brownout Detector; (10)Supply Voltage Supervisor/Monitor With Programmable Level Detection; (11)Serial Onboard Programming, No External Programming Voltage Needed Programmable Code Protection by Security Fuse; (12)Bootstrap Loader in Flash Devices.
Diagrams

| Image | Part No | Mfg | Description | ![]() |
Pricing (USD) |
Quantity | ||||||||||||
|---|---|---|---|---|---|---|---|---|---|---|---|---|---|---|---|---|---|---|
![]() |
![]() MSP430F4250IDLR |
![]() Texas Instruments |
![]() 16-bit Microcontrollers (MCU) 16-bit Ultra-Lo-Pwr |
![]() Data Sheet |
![]()
|
|
||||||||||||
| Image | Part No | Mfg | Description | ![]() |
Pricing (USD) |
Quantity | ||||||||||||
![]() |
![]() MSP4120 |
![]() Other |
![]() |
![]() Data Sheet |
![]() Negotiable |
|
||||||||||||
![]() |
![]() MSP4200 |
![]() Other |
![]() |
![]() Data Sheet |
![]() Negotiable |
|
||||||||||||
![]() |
![]() MSP430×11× |
![]() Other |
![]() |
![]() Data Sheet |
![]() Negotiable |
|
||||||||||||
![]() |
![]() MSP430×11×2 |
![]() Other |
![]() |
![]() Data Sheet |
![]() Negotiable |
|
||||||||||||
![]() |
![]() MSP430×12×2 |
![]() Other |
![]() |
![]() Data Sheet |
![]() Negotiable |
|
||||||||||||
![]() |
![]() MSP430×21×1 |
![]() Other |
![]() |
![]() Data Sheet |
![]() Negotiable |
|
||||||||||||
(China (Mainland))










