Product Summary
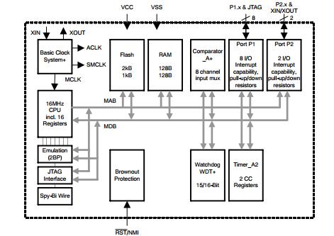
The MSP430F2001TPWR is an ultralow-power microcontroller. It consists of several devices featuring different sets of peripherals targeted for various applications. The architecture, combined with five low-power modes is optimized to achieve extended battery life in portable measurement applications. The MSP430F2001TPWR features a powerful 16-bit RISC CPU, 16-bit registers, and constant generators that contribute to maximum code efficiency.The digitally controlled oscillator(DCO) allows wake-up from low-power modes to active mode in less than 1μs.
Parametrics
MSP430F2001TPWR absolute maximum ratings: (1)Voltage applied at VCC to VSS: -0.3 V to 4.1 V; (2)Voltage applied to any pin: -0.3 V to VCC +0.3 V; (3)Diode current at any device terminal: ±2mA; (4)Storage temperature, Tstg: -55℃ to 150℃; (5)Storage temperature, Tstg: -40℃ to 85℃.
Features
MSP430F2001TPWR features: (1)Low Supply Voltage Range 1.8 V to 3.6 V; (2)Ultralow Power Consumption, Active Mode: 220μA at 1MHz, 2.2V; Standby Mode: 0.5μA; Off Mode (RAM Retention): 0.1μA; (3)Five Power-Saving Modes; (4)Ultrafast Wake-Up From Standby Mode in Less Than 1μs; (5)16-Bit RISC Architecture, 62.5 ns Instruction Cycle Time; (6)Basic Clock Module Configurations: Internal Frequencies up to 16 MHz With Four Calibrated Frequencies to±1%; (7)Internal Very Low Power LF Oscillator; (8)32-kHz Crystal; (9)External Digital Clock Source; (10)16-Bit Timer_A With Two Capture/Compare Registers; (11)On-Chip Comparator for Analog Signal Compare Function or Slope A/D; (12)Brownout Detector; (13)Serial Onboard Programming, No External Programming Voltage Needed Programmable Code Protection by Security Fuse; (14)On-Chip Emulation Logic With Spy-Bi-Wire Interface; (15)Available in a 14-Pin Plastic Small-Outline Thin Package (TSSOP), 14-Pin Plastic Dual Inline Package (PDIP), and 16-Pin QFN.
Diagrams

| Image | Part No | Mfg | Description | ![]() |
Pricing (USD) |
Quantity | ||||||||||||
|---|---|---|---|---|---|---|---|---|---|---|---|---|---|---|---|---|---|---|
![]() |
![]() MSP430F2001TPWR |
![]() Texas Instruments |
![]() 16-bit Microcontrollers (MCU) 16-Bit Ultra Low Pwr 1kB Flash 128B RAM |
![]() Data Sheet |
![]()
|
|
||||||||||||
| Image | Part No | Mfg | Description | ![]() |
Pricing (USD) |
Quantity | ||||||||||||
![]() |
![]() MSP4120 |
![]() Other |
![]() |
![]() Data Sheet |
![]() Negotiable |
|
||||||||||||
![]() |
![]() MSP4200 |
![]() Other |
![]() |
![]() Data Sheet |
![]() Negotiable |
|
||||||||||||
![]() |
![]() MSP430×11× |
![]() Other |
![]() |
![]() Data Sheet |
![]() Negotiable |
|
||||||||||||
![]() |
![]() MSP430×11×2 |
![]() Other |
![]() |
![]() Data Sheet |
![]() Negotiable |
|
||||||||||||
![]() |
![]() MSP430×12×2 |
![]() Other |
![]() |
![]() Data Sheet |
![]() Negotiable |
|
||||||||||||
![]() |
![]() MSP430×21×1 |
![]() Other |
![]() |
![]() Data Sheet |
![]() Negotiable |
|
||||||||||||
(China (Mainland))










