Product Summary
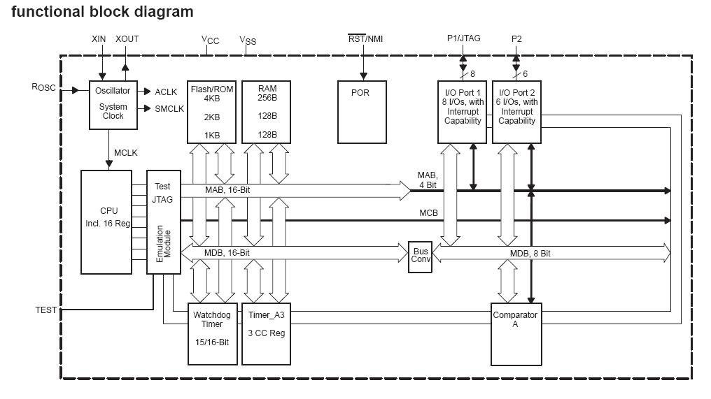
The MSP430F1121AIPW is an ultralow power microcontroller. It consists several devices featuring different sets of peripherals targeted for various applications. The architecture, combined with five low power modes is optimized to achieve extended battery life in portable measurement applications. The MSP430F1121AIPW features a powerful 16-bit RISC CPU, 16-bit registers, and constant generators that attribute to maximum code efficiency. The digitally controlled oscillator (DCO) allows wake-up from low-power modes to active mode in less than 6μs. The application of the MSP430F1121AIPW include sensor systems that capture analog signals, convert them to digital values, and then process the data for display or for transmission to a host system. Stand alone RF sensor front end is another area of application. The I/O port inputs provide single slope A/D conversion capability on resistive sensors.
Parametrics
MSP430F1121AIPW absolute maximum ratings: (1)Voltage applied at VCC to VSS: -0.3 V to 4.1 V; (2)Voltage applied to any pin (see Note): -0.3 V to VCC+0.3 V; (3)Diode current at any device terminal:±2mA; (4)Storage temperature, Tstg (un-programmed device): -55℃ to 150℃; (5)Storage temperature, Tstg (programmed device): -40℃ to 85℃.
Features
MSP430F1121AIPW features: (1)Low Supply Voltage Range 1.8V to 3.6V; (2)Ultralow-Power Consumption; (3)Wake-Up From Standby Mode in less than 6μs; (4)16-Bit RISC Architecture, 125ns Instruction Cycle Time; (5)Basic Clock Module Configurations; (6)16-Bit Timer_A With Three Capture/Compare Registers; (7)On-Chip Comparator for Analog Signal Compare Function or Slope A/D Conversion; (8)Serial Onboard Programming, No External Programming Voltage Needed Programmable Code Protection by Security Fuse; (9)Available in a 20-Pin Plastic Small-Outline Wide Body (SOWB) Package, 20-Pin Plastic Small-Outline Thin Package, 20-Pin TVSOP; (10)(F11x1A only) and 24-Pin QFN.
Diagrams

| Image | Part No | Mfg | Description | ![]() |
Pricing (USD) |
Quantity | ||||||||||||
|---|---|---|---|---|---|---|---|---|---|---|---|---|---|---|---|---|---|---|
![]() |
![]() MSP430F1121AIPW |
![]() Texas Instruments |
![]() 16-bit Microcontrollers (MCU) 4kB Flash 256B RAM Comparator |
![]() Data Sheet |
![]()
|
|
||||||||||||
![]() |
![]() MSP430F1121AIPWR |
![]() Texas Instruments |
![]() 16-bit Microcontrollers (MCU) 4kB Flash 256B RAM Comparator |
![]() Data Sheet |
![]()
|
|
||||||||||||
(China (Mainland))









