Product Summary
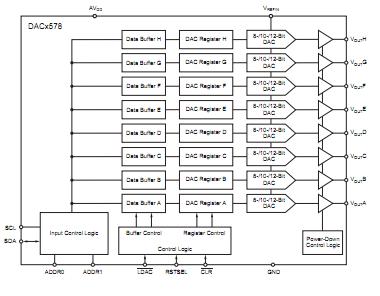
The DAC5578SRGER is a low-power, voltage-output, octal channel, digital-to-analog converter (DAC). The DAC5578SPW provides good linearity,and minimize undesired code-to-code transient voltages (glitch). The applications of the DAC5578SRGER are (1)Portable Instrumentation; (2)Closed-Loop Servo Control; (3)Process Control; (4)Data Acquisition Systems.
Parametrics
DAC5578SRGER absolute maximum ratings: (1)AVDD to GND: –0.3 to +6 V; (2)Digital input voltage to GND: –0.3 to +AVDD + 0.3 V; (3)VOUT to GND: –0.3 to +AVDD + 0.3 V; (4)VREFIN to GND: –0.3 to +AVDD + 0.3 V; (5)Operating temperature range: –40 to +125℃; (6)Storage temperature range: –65 to +150℃; (7)Junction temperature range (TJ max): +150℃; (8)Power dissipation: (TJ max – TA)/qJA W.
Features
DAC5578SRGER features: (1)Glitch Energy: 0.15nV-s; (2)Power-On Reset to Zero Scale or Midscale; (3)Ultra-Low Power Operation: 0.13mA/ch at 5V; (4)Wide Power-Supply Range: +2.7V to +5.5V; (5)2-Wire Serial Interface ( I2C compatible); (6)Temperature Range: –40 to +125℃.
Diagrams

| Image | Part No | Mfg | Description | ![]() |
Pricing (USD) |
Quantity | ||||||||||||
|---|---|---|---|---|---|---|---|---|---|---|---|---|---|---|---|---|---|---|
![]() |
![]() DAC5578SRGER |
![]() Texas Instruments |
![]() DAC (D/A Converters) 8B,Octal Ch,Vlt Out 2-Wire Interface DAC |
![]() Data Sheet |
![]()
|
|
||||||||||||
| Image | Part No | Mfg | Description | ![]() |
Pricing (USD) |
Quantity | ||||||||||||
![]() |
![]() DAC5311IDCKR |
![]() Texas Instruments |
![]() DAC (D/A Converters) 8B Sgl Ch 80uA DAC |
![]() Data Sheet |
![]()
|
|
||||||||||||
![]() |
![]() DAC5311IDCKRG4 |
![]() Texas Instruments |
![]() DAC (D/A Converters) 8B Sgl Ch DAC w/SPI |
![]() Data Sheet |
![]()
|
|
||||||||||||
![]() |
![]() DAC5311IDCKRQ1 |
![]() Texas Instruments |
![]() DAC (D/A Converters) Auto Cat 8B Sgl Ch 80uA 1.8-5.5V DAC |
![]() Data Sheet |
![]()
|
|
||||||||||||
![]() |
![]() DAC5571EVM |
![]() Texas Instruments |
![]() Data Conversion IC Development Tools DAC5571 Eval Mod |
![]() Data Sheet |
![]()
|
|
||||||||||||
![]() |
![]() DAC5571IDBVR |
![]() Texas Instruments |
![]() DAC (D/A Converters) Low-power 8-Bit w/hi-speed I2C Input |
![]() Data Sheet |
![]()
|
|
||||||||||||
![]() |
![]() DAC5571IDBVRG4 |
![]() Texas Instruments |
![]() DAC (D/A Converters) Low-power 8-Bit w/hi-speed I2C Input |
![]() Data Sheet |
![]()
|
|
||||||||||||
(China (Mainland))













