Product Summary
The TPS61071DDCR is a 90% efficient synchronous boost converter. The TPS61071DDCR provides a power supply solution for products powered by either a one-cell, two-cell, or three-cell alkaline, NiCd or NiMH, or one-cell Li-ion or Li-polymer battery. Output currents can go as high as 75 mA while using a single-cell alkaline, and discharge it down to 0.9 V. It can also be used for generating 5 V at 200 mA from a 3.3 V rail or a Li-ion battery. The boost converter is based on a fixed frequency, pulse-width-modulation (PWM) controller using a synchronous rectifier to obtain maximum efficiency. The applications of the TPS61071DDCR include All One-Cell, Two-Cell, and Three-Cell Alkaline, NiCd or NiMH or Single-Cell Li Battery-Powered Products, Portable Audio Players, PDAs, Cellular Phones, Personal Medical Products, White LED Lighting.
Parametrics
TPS61071DDCR absolute maximum ratings: (1)Input voltage range on PVIN, VIN, EN, FB, IOK, SW, VOUT: -0.3 V to 7 V; (2)Operating virtual junction temperature range, TJ: -40 to 150℃; (3)Storage temperature range, Tstg: -65℃ to 150℃.
Features
TPS61071DDCR features: (1)90% Efficient Synchronous Boost Converter, 75-mA Output Current at 3.3 V From 0.9-V Input; 150-mA Output Current at 3.3 V From 1.8-V Input; (2)Device Quiescent Current: 19 μ A (Typ); (3)Input Voltage Range: 0.9 V to 5.5 V; (4)Adjustable Output Voltage Up to 5.5 V; (5)Power-Save Mode Version Available for; (6)Improved Efficiency at Low Output Power; (7)Load Disconnect During Shutdown; (8)Overtemperature Protection; (9)Small 6-Pin Thin SOT23 Package.
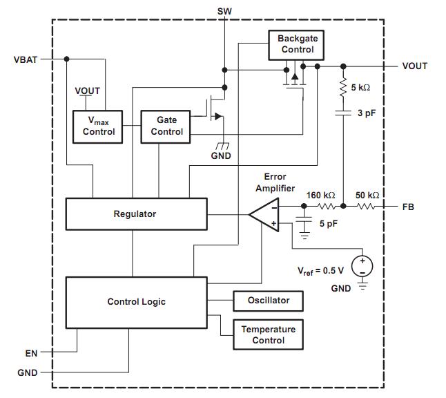
Diagrams

| Image | Part No | Mfg | Description | ![]() |
Pricing (USD) |
Quantity | ||||||||||||
|---|---|---|---|---|---|---|---|---|---|---|---|---|---|---|---|---|---|---|
![]() |
![]() TPS61071DDCR |
![]() Texas Instruments |
![]() DC/DC Switching Regulators Adj 600-mA Switch PWM Boost Converter |
![]() Data Sheet |
![]()
|
|
||||||||||||
![]() |
![]() TPS61071DDCRG4 |
![]() Texas Instruments |
![]() DC/DC Switching Regulators Adj 600-mA Switch PWM Boost Converter |
![]() Data Sheet |
![]()
|
|
||||||||||||
(China (Mainland))









