Product Summary
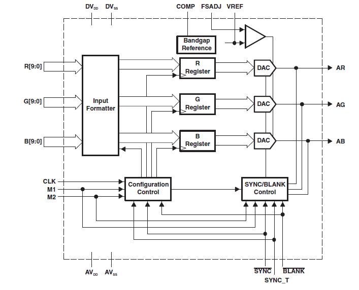
The THS8136PHP is a general-purpose triple high-speed digital-to-analog (D/A) converter optimized for use in video/graphics applications. The device operates from 3.3-V analog and 1.8-V digital supplies with D/A converter performance assured at sampling rates up to 180 MHz. The THS8136PHP consists of three 10-bit D/A converters and additional circuitry for bi-level sync and blanking level generation. The current-steering DACs have been specifically designed to produce standard video output levels when directly connected to a single-ended double-terminated 75-Ω coaxial cable. The applications of the THS8136PHP include Graphics and Video Generation, High-Resolution Image Processing, Generic Triple D/A Converter.
Parametrics
THS8136PHP absolute maximum ratings: (1)Supply voltage, AVDD to AVSS: -0.5 V to 3.6 V; DVDD to DVSS: -0.5 V to 1.95 V; AVSS to DVSS: -0.5 to 0.5 V; (2)Digital input voltage range to DVSS: -0.5 V to (DVDD +0.5) V; (3)TA, Operating free-air temperature range: -40℃ to 85℃; (4)Tstg, Storage temperature range: -55℃ to 150℃.
Features
THS8136PHP features: (1)Triple 10-Bit Digital-to-Analog Converters(DACs); (2)180-MSPS Operation; (3)Direct Drive of Double-Terminated 75-Ω Load Into Standard Video Levels; (4)Bi-Level Sync and Blank Level Generation; (5)Internal Voltage Reference; (6)Low-Power Operation From 3.3-V Analog and 1.8-V Digital Supply Levels; (7)1.8-V Compatible Inputs.
Diagrams

| Image | Part No | Mfg | Description | ![]() |
Pricing (USD) |
Quantity | ||||||||||||
|---|---|---|---|---|---|---|---|---|---|---|---|---|---|---|---|---|---|---|
![]() |
![]() THS8136PHP |
![]() Texas Instruments |
![]() Video D/A Converter ICs Triple 10B 180MSPS Graphics & Video DAC |
![]() Data Sheet |
![]()
|
|
||||||||||||
![]() |
![]() THS8136PHPR |
![]() Texas Instruments |
![]() Video D/A Converter ICs Triple 10B 180MSPS Graphics & Video DAC |
![]() Data Sheet |
![]()
|
|
||||||||||||
(China (Mainland))









