Product Summary
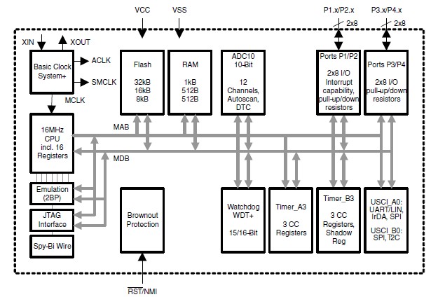
The MSP430F2252IRHAR is an ultra low-power microcontroller. It consists of several devices featuring different sets of peripherals targeted for various applications. The architecture, combined with five low-power modes is optimized to achieve extended battery life in portable measurement applications. The MSP430F2252IRHAR features a powerful 16-bit RISC CPU, 16-bit registers, and constant generators that contribute to maximum code efficiency. The digitally controlled oscillator (DCO) allows wake-up from low power modes to active mode in less than 1 μs. The applications of the MSP430F2252IRHAR include sensor systems that capture analog signals, convert them to digital values, and then process the data for display or for transmission to a host system. Stand-alone radio-frequency (RF) sensor front ends are another area of application.
Parametrics
MSP430F2252IRHAR absolute maximum ratings: (1)Voltage applied at VCC to VSS: 0.3 V to 4.1 V; (2)Voltage applied to any pin: 0.3 V to VCC+0.3 V; (3)Diode current at any device terminal: ±2 mA; (4)Storage temperature range, Tstg (unprogrammed device): 55℃ to 150℃; (5)Storage temperature range, Tstg (programmed device): -40℃ to 105℃.
Features
MSP430F2252IRHAR features: (1)Low Supply Voltage Range: 1.8 V to 3.6 V; (2)Ultralow-Power Consumption: Active Mode: 270 μA at 1 MHz, 2.2 V; Standby Mode: 0.7 μA; Off Mode (RAM Retention): 0.1 μA; (3)Ultrafast Wake-Up From Standby Mode in Less Than 1 μs; (4)16-Bit RISC Architecture, 62.5-ns Instruction Cycle Time; (5)Basic Clock Module Configurations: Internal Frequencies up to 16 MHz With Four Calibrated Frequencies to ±1%; (6)Internal Very-Low-Power Low-Frequency Oscillator; (7)32-kHz Crystal; High-Frequency Crystal up to 16 MHz; Resonator; (8)External Digital Clock Source; External Resistor; (9)16-Bit Timer_A With Three Capture/Compare Registers; (10)16-Bit Timer_B With Three Capture/Compare Registers; (11)Two Configurable Operational Amplifiers; (12)(MSP430x22x4 Only); (13)Brownout Detector; (14)Serial Onboard Programming, No External Programming Voltage Needed Programmable Code Protection by Security Fuse; (15)Bootstrap Loader; (16)On Chip Emulation Module.
Diagrams

| Image | Part No | Mfg | Description | ![]() |
Pricing (USD) |
Quantity | ||||||||
|---|---|---|---|---|---|---|---|---|---|---|---|---|---|---|
![]() |
![]() MSP430F2252IRHAR |
![]() Texas Instruments |
![]() 16-bit Microcontrollers (MCU) 16-bit Ultra-Lo-Pwr Microcontroller |
![]() Data Sheet |
![]()
|
|
||||||||
| Image | Part No | Mfg | Description | ![]() |
Pricing (USD) |
Quantity | ||||||||
![]() |
![]() MSP4120 |
![]() Other |
![]() |
![]() Data Sheet |
![]() Negotiable |
|
||||||||
![]() |
![]() MSP4200 |
![]() Other |
![]() |
![]() Data Sheet |
![]() Negotiable |
|
||||||||
![]() |
![]() MSP430×11× |
![]() Other |
![]() |
![]() Data Sheet |
![]() Negotiable |
|
||||||||
![]() |
![]() MSP430×11×2 |
![]() Other |
![]() |
![]() Data Sheet |
![]() Negotiable |
|
||||||||
![]() |
![]() MSP430×12×2 |
![]() Other |
![]() |
![]() Data Sheet |
![]() Negotiable |
|
||||||||
![]() |
![]() MSP430×21×1 |
![]() Other |
![]() |
![]() Data Sheet |
![]() Negotiable |
|
||||||||
(China (Mainland))










