Product Summary
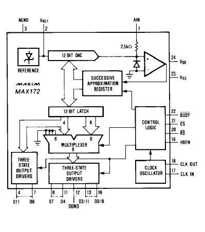
The MAX1720EUT+T is a complete 12-bit analog-to-digital converter that combines high speed, low power consumption, and an on-chip voltage reference. The conversion time is 10μs. The MAX1720EUT+T provides low drift and low noise performance. The applications of the MAX1720EUT+T include digital signal processing, high accuracy process control, high speed data acquisition, and electro-mechanical systems.
Parametrics
MAX1720EUT+T absolute maximum ratings: (1)VDD to DGND: -0.3V to +7V; (2)VSS to DGND: +0.3V to -17V; (3)AGND to DGND: -0.3V, VDD +0.3V; (4)AIN to AGND: -15V to +15V; (5)Digital input voltage to DGND: -0.3V, VDD+0.3V; (6)Digital output voltage to DGND: -0.3V, VDD+0.3V; (7)Operating Temperature Ranges: 0℃ to 70℃; (8)Storage Temperature Range: -65℃ to +160℃; (9)Power Dissipation (any package) to +75℃: 1000mW; (10)Derate Above +75℃ by : 10mW/℃; (11)Lead Temperature (soldering 10 seconds): 300℃.
Features
MAX1720EUT+T features: (1) 12-bit resolution and linearity; (2)10μs conversion time; (3)no missing codes; (4)on-chip voltage reference; (5)90ns Access time; (6)215mW Max power consumption; (7)24-lead Narrow DIP package; (8)Pin-for-pin AD7572 Replacement.
Diagrams

| Image | Part No | Mfg | Description | ![]() |
Pricing (USD) |
Quantity | ||||||||||||
|---|---|---|---|---|---|---|---|---|---|---|---|---|---|---|---|---|---|---|
![]() |
![]() MAX1720EUT+T |
![]() Maxim Integrated Products |
![]() Charge Pumps Switched-Cap Voltage Inverter w/Shutdown |
![]() Data Sheet |
![]()
|
|
||||||||||||
| Image | Part No | Mfg | Description | ![]() |
Pricing (USD) |
Quantity | ||||||||||||
![]() |
![]() MAX10 |
![]() Aavid Thermalloy |
![]() Heat Sinks 39.85 N (8.96 lbs) |
![]() Data Sheet |
![]() Negotiable |
|
||||||||||||
![]() |
![]() MAX100 |
![]() Other |
![]() |
![]() Data Sheet |
![]() Negotiable |
|
||||||||||||
![]() |
![]() MAX1002 |
![]() Other |
![]() |
![]() Data Sheet |
![]() Negotiable |
|
||||||||||||
![]() |
![]() MAX1002CAX |
![]() Maxim Integrated Products |
![]() ADC (A/D Converters) |
![]() Data Sheet |
![]() Negotiable |
|
||||||||||||
![]() |
![]() MAX1002CAX+ |
![]() Maxim Integrated Products |
![]() ADC (A/D Converters) Low-Power 60Msps Dual 6-Bit |
![]() Data Sheet |
![]()
|
|
||||||||||||
![]() |
![]() MAX1002CAX+T |
![]() Maxim Integrated Products |
![]() ADC (A/D Converters) Low-Power 60Msps Dual 6-Bit |
![]() Data Sheet |
![]()
|
|
||||||||||||
(China (Mainland))










