Product Summary
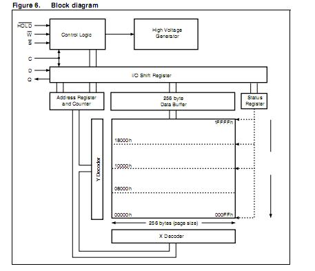
The M25P10-AVMN6TP is a 1 Mbit (128 Kbit x 8) serial Flash memory, with advanced write protection mechanisms, accessed by a high speed SPI-compatible bus. The M25P10-AVMN6TP can be programmed 1 to 256 bytes at a time, using the Page Program instruction. The M25P10-AVMN6TP is organized as 4 sectors, each containing 128 pages. Each page is 256 bytes wide. Thus, the whole memory can be viewed as consisting of 512 pages, or 131,072 bytes. The whole memory can be erased using the Bulk Erase instruction, or a sector at a time, using the Sector Erase instruction.
Parametrics
M25P10-AVMN6TP absolute maximum ratings: (1)Storage temperature:–65℃ to 150℃; (2)Input and output voltage (with respect to ground):–0.6V to VCC+0.6V; (3)Supply voltage:–0.6V to 4.0V; (4)Electrostatic discharge voltage (Human Body model):–2000V to 2000V.
Features
M25P10-AVMN6TP features: (1)1 Mbit of Flash memory; (2)Page Program (up to 256 bytes) in 1.4 ms (typical); (3)Sector Erase (256 Kbit) in 0.65 s (typical); (4)Bulk Erase (1 Mbit) in 1.7 s (typical); (5)2.3 to 3.6 V single supply voltage; (6)SPI bus compatible serial interface; (7)50 MHz Clock rate (maximum); (8)Deep Power-down mode 1 μA (typical); (9)Electronic signatures:JEDEC standard two-byte signature(2011h), RES instruction, one-byte signature (10h), for backward compatibility; (10)More than 20 years’data retention; (11)Packages:ECOPACK (RoHS compliant).
Diagrams

| Image | Part No | Mfg | Description | ![]() |
Pricing (USD) |
Quantity | ||||||||||||
|---|---|---|---|---|---|---|---|---|---|---|---|---|---|---|---|---|---|---|
![]() |
![]() M25P10-AVMN6TP |
![]() STMicroelectronics |
![]() Flash SERIAL SECTOR ERASE FLASH 1MEG |
![]() Data Sheet |
![]() Negotiable |
|
||||||||||||
| Image | Part No | Mfg | Description | ![]() |
Pricing (USD) |
Quantity | ||||||||||||
![]() |
![]() M25P01K9FC |
![]() JAE Electronics |
![]() Automotive Connectors Pin Contact MX25 |
![]() Data Sheet |
![]()
|
|
||||||||||||
![]() |
![]() M25P05 |
![]() Other |
![]() |
![]() Data Sheet |
![]() Negotiable |
|
||||||||||||
![]() |
![]() M25P05-A |
![]() Other |
![]() |
![]() Data Sheet |
![]() Negotiable |
|
||||||||||||
![]() |
![]() M25P05-AVDW6TP |
![]() STMicroelectronics |
![]() Flash 512 KB Lo Vltg Serial Flash memory |
![]() Data Sheet |
![]() Negotiable |
|
||||||||||||
![]() |
![]() M25P05-AVMB6TP |
![]() |
![]() IC SRL FLASH 512KBIT 3V 8UFDFPN |
![]() Data Sheet |
![]() Negotiable |
|
||||||||||||
![]() |
![]() M25P05-AVMN6 |
![]() STMicroelectronics |
![]() Flash 3.0V 512K (64Kx8) |
![]() Data Sheet |
![]() Negotiable |
|
||||||||||||
(China (Mainland))










