Product Summary
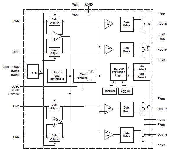
The TPA2001D2PWPR is a 1-W mono bridge-tied-load (BTL) class-D amplifier designed to drive a speaker with at least 8-Ω impedance. The TPA2001D2PWPR uses TI’s third generation modulation technique, which results in improved efficiency and SNR. It also allows the device to be connected directly to the speaker without the use of the LC output filter commonly associated with class-D amplifiers (this results in EMI which must be shielded at the system level). These features make the device ideal for use in devices where high-efficiency is needed to extend battery run time.
Parametrics
TPA2001D2PWPR absolute maximum ratings: (1)VDD, PVDD, Supply voltage: -0.3 V to 5.5 V; (2)VI, Input voltage: -0.3 V to VDD+0.3 V; (3)Continuous total power dissipation: See Dissipation Rating Table; (4)TA, Operating free-air temperature range: -40 to 85℃; (5)TJ, Operating junction temperature range: -40 to 150℃; (6)Tstg, Storage temperature range: -65 to 150℃; (7)Lead temperature 1,6 mm (1/16 inch) from case for 10 seconds: 260℃.
Features
TPA2001D2PWPR features: (1)Modulation Scheme Optimized to Operate Without a Filter; (2)TSSOP Package Options; (3)1 W Into an 8-Ω Speaker (THD+N<1%); (4)<0.2% THD+N at 1 W, 1 kHz, Into an 8-Ω Load; (5)Extremely Efficient Third Generation 5-V Class-D Technology: Low-Supply Current (No Filter): 4 mA; Low-Supply Current (Filter): 7.5 mA; Low-Shutdown Current: 0.05 μA; Low-Noise Floor: 40 μVRMS (No-Weighting Filter); Maximum Efficiency Into 8 Ω, 75 -85%; 4 Internal Gain Settings: 6 -23.5 dB; PSRR: -77 dB; (6)Integrated Depop Circuitry; (7)Short-Circuit Protection (Short to Battery, Ground, and Load).
Diagrams

| Image | Part No | Mfg | Description | ![]() |
Pricing (USD) |
Quantity | ||||||||||
|---|---|---|---|---|---|---|---|---|---|---|---|---|---|---|---|---|
![]() |
![]() TPA2001D2PWPR |
![]() Texas Instruments |
![]() Audio Amplifiers Stereo Filter-Free Class-D |
![]() Data Sheet |
![]()
|
|
||||||||||
![]() |
![]() TPA2001D2PWPRG4 |
![]() Texas Instruments |
![]() Audio Amplifiers Stereo Filter-Free Class-D |
![]() Data Sheet |
![]()
|
|
||||||||||
(China (Mainland))









