Product Summary
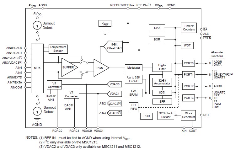
The MSC1210Y2PAGT is a Precision Analog-to-Digital Converter (ADC) and Digital-to-Analog Converter (DAC) with 8051 Microcontroller and Flash Memory. The MSC1210Y2PAGT is ideal for: (1)Industrial Process Control; (2)Instrumentation; (3)Liquid/Gas Chromatography; (4)Blood Analysis; (5)Smart Transmitters; (6)Portable Instruments; (7)Weigh Scales; (8)Pressure Transducers; (9)Intelligent Sensors; (10)Portable Applications; (11)DAS Systems.
Parametrics
MSC1210Y2PAGT absolute maximum ratings: (1)DVDD to DGND: -0.3 to +6 V; (2)AVDD to AGND: -0.3 to +6 V; (3)AGND to DGND: -0.3 to +0.3 V; (4)VREF to AGND: -0.3 to AVDD + 0.3 V; (5)Digital input voltage to DGND: -0.3 to DVDD + 0.3 V; (6)Digital output voltage to DGND: -0.3 to DVDD + 0.3 V; (7)Maximum junction temperature (TJ Max): +150 ℃; (8)Operating temperature range: -40 to +125℃; (9)Storage temperature range: -65 to +150℃.
Features
MSC1210Y2PAGT features: (1)Pin-Compatible with MSC1210; (2)Package: TQFP-64; (3)Low Power: 4mW; (4)Industrial Temperature Range: -40℃ to +125℃; (5)Power Supply: 2.7V to 5.25V.
Diagrams

| Image | Part No | Mfg | Description | ![]() |
Pricing (USD) |
Quantity | ||||||||||
|---|---|---|---|---|---|---|---|---|---|---|---|---|---|---|---|---|
![]() |
![]() MSC1210Y2PAGT |
![]() Texas Instruments |
![]() ADC (A/D Converters) Prec ADC w/ 8051 Mcntrl & Flash |
![]() Data Sheet |
![]()
|
|
||||||||||
![]() |
![]() MSC1210Y2PAGTG4 |
![]() Texas Instruments |
![]() ADC (A/D Converters) Prec Ana-to-Digital Converter |
![]() Data Sheet |
![]()
|
|
||||||||||
(China (Mainland))









