Product Summary
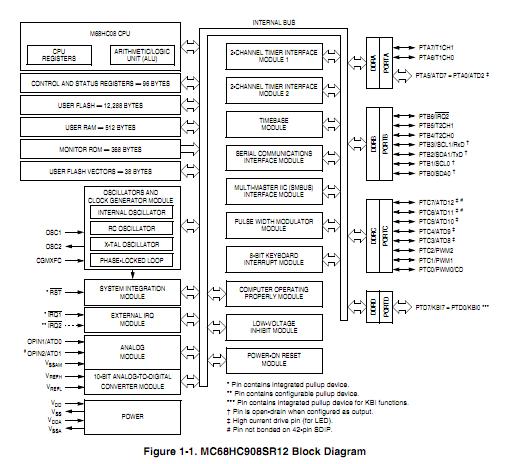
The MC908SR12MFAE is a low-cost, high-performance, 8-bit microcontroller unit (MCU). The MC908SR12MFAE is based on the customer-specified integrated circuit (CSIC) design strategy. All MCUs in the MC908SR12MFAE use the enhanced M68HC08 central processor unit (CPU08) and are available with a variety of modules, memory sizes and types, and package types.
Parametrics
MC908SR12MFAE absolute maximum ratings: (1)Supply voltage VDD: –0.3 to +6.0 V; (2)Input voltage All pins (except IRQ1), IRQ1 pin, VIN: VSS–0.3 to VDD +0.3; VSS–0.3 to 8.5V; (3)Maximum current per pin excluding VDD and VSS, I: ±25 mA; (4)Maximum current out of VSS IMVSS: 100 mA; (5)Maximum current into VDD IMVDD: 100 mA; (6)Storage temperature TSTG: –55 to +150℃.
Features
MC908SR12MFAE features: (1)High-performance M68HC08 architecture; (2)Fully upward-compatible object code with M6805, M146805, and M68HC05 Families; (3)Maximum internal bus frequency: 8-MHz at 5V operating voltage; 4-MHz at 3V operating voltage; (4)Clock input options: RC-oscillator; 32kHz crystal-oscillator with 32MHz internal phase-lock-loop; (5)12k-bytes user program FLASH memory with security1 feature; (6)512 bytes of on-chip RAM; (7)Two 16-bit, 2-channel timer interface modules (TIM1 and TIM2) with selectable input capture, output compare, and PWM capability on each channel; (8)Timebase module; (9)3-channel, 8-bit high speed PWM (125kHz) with independent counters and automatic phase control; (10)Serial communications interface module (SCI).
Diagrams

| Image | Part No | Mfg | Description | ![]() |
Pricing (USD) |
Quantity | ||||
|---|---|---|---|---|---|---|---|---|---|---|
![]() |
![]() MC908SR12MFAE |
![]() Freescale Semiconductor |
![]() 8-bit Microcontrollers (MCU) 08 MCU W/10 B ADC |
![]() Data Sheet |
![]() Negotiable |
|
||||
![]() |
![]() MC908SR12MFAER |
![]() Freescale Semiconductor |
![]() 8-bit Microcontrollers (MCU) 08 MCU W/10 B ADC |
![]() Data Sheet |
![]() Negotiable |
|
||||
(China (Mainland))









