Product Summary
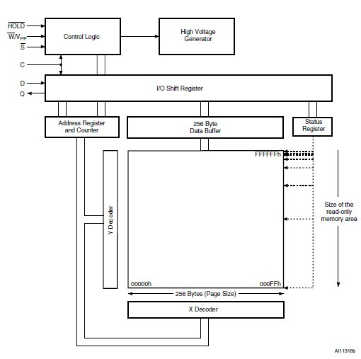
The M25P128-VMF6P is a 128 Mbit (16 Mbit × 8), multilevel Serial Flash memory, with advanced write protection mechanisms, accessed by a high speed SPI-compatible bus. The memory can be programmed 1 to 256 bytes at a time, using the Page Program instruction. The M25P128-VMF6P is organized as 64 sectors, each containing 1024 pages. Each page is 256 bytes wide. Thus, the whole memory can be viewed as consisting of 65536 pages, or 16777216 bytes.
Parametrics
M25P128-VMF6P absolute maximum ratings: (1)TSTG, Storage Temperature: –65 to 150℃; (2)VIO, Input and output voltage (with respect to Ground): –0.5 to VCC + 0.6 V; (3)VCC, Supply voltage: –0.2 to 4.0 V; (4)VPP, Fast Program/Erase voltage: –0.2 to 10.0 V; (5)VESD, Electrostatic Discharge Voltage (Human Body Model): –2000 to 2000 V.
Features
M25P128-VMF6P features: (1)128 Mbit of Flash memory; (2)2.7 to 3.6 V single supply voltage; (3)SPI bus compatible Serial interface; (4)50 MHz clock rate (maximum); (5)VPP = 9 V for fast Program/Erase mode (optional); (6)Page Program (up to 256 Bytes): in 2.5 ms (typical); in 1.2 ms (typical with VPP = 9 V); (7)Sector Erase (2 Mbit); (8)Bulk Erase (128 Mbit); (9)Electronic signature: JEDEC standard two-byte signature(2018h); (10)More than 10000 Erase/Program cycles per sector; (11)More than 20-year data retention; (12)Packages: ECOPACKR (RoHS compliant).
Diagrams

| Image | Part No | Mfg | Description | ![]() |
Pricing (USD) |
Quantity | ||||||||||||
|---|---|---|---|---|---|---|---|---|---|---|---|---|---|---|---|---|---|---|
![]() |
![]() M25P128-VMF6P |
![]() STMicroelectronics |
![]() Flash 128MBIT SERIEL FLASH |
![]() Data Sheet |
![]() Negotiable |
|
||||||||||||
| Image | Part No | Mfg | Description | ![]() |
Pricing (USD) |
Quantity | ||||||||||||
![]() |
![]() M25P01K9FC |
![]() JAE Electronics |
![]() Automotive Connectors Pin Contact MX25 |
![]() Data Sheet |
![]()
|
|
||||||||||||
![]() |
![]() M25P05 |
![]() Other |
![]() |
![]() Data Sheet |
![]() Negotiable |
|
||||||||||||
![]() |
![]() M25P05-A |
![]() Other |
![]() |
![]() Data Sheet |
![]() Negotiable |
|
||||||||||||
![]() |
![]() M25P05-AVDW6TP |
![]() STMicroelectronics |
![]() Flash 512 KB Lo Vltg Serial Flash memory |
![]() Data Sheet |
![]() Negotiable |
|
||||||||||||
![]() |
![]() M25P05-AVMB6TP |
![]() |
![]() IC SRL FLASH 512KBIT 3V 8UFDFPN |
![]() Data Sheet |
![]() Negotiable |
|
||||||||||||
![]() |
![]() M25P05-AVMN6 |
![]() STMicroelectronics |
![]() Flash 3.0V 512K (64Kx8) |
![]() Data Sheet |
![]() Negotiable |
|
||||||||||||
(China (Mainland))










